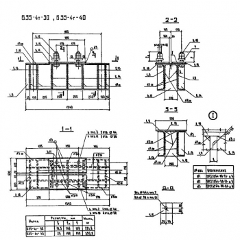
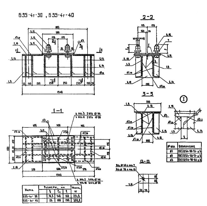
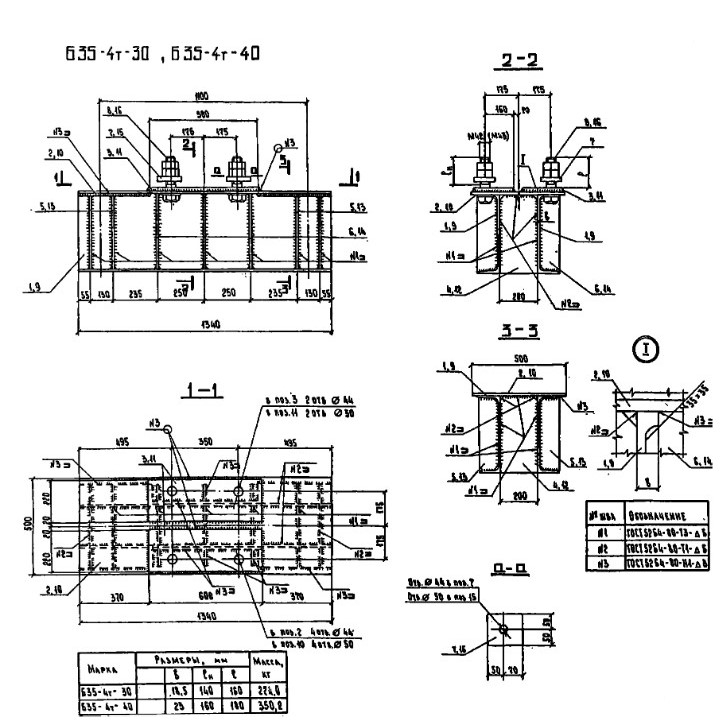
Б35-4т-40
Номер чертежа монтажной схемы - 3.407.9-146.3-07КМ
Габариты (Д*Ш*В) - 1340*500*400
Вес - 350 кг
Габариты (Д*Ш*В) - 1340*500*400
Вес - 350 кг
87 500 р.
Похожие товары
