ВЛ 6-10 кВ
ВЛ 6–10 кВ — это воздушные линии электропередачи с напряжением 6–10 кВ.
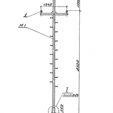
Опоры предназначены для нефте- и газодобывающих районов Западной Сибири, изготавливаются из отработанных бурильных и обсадных труб диаметром 127, 146 и 168 ммм, по ГОСТ 632-80
На сегодняшний день такие опоры по требованию заказчика можем изготовить из трубы любого диаметра и ГОСТа.
Опоры используются для прокладки воздушных линий 6-10 кВ в сельской местности, на промышленных объектах и в городах. Они выдерживают провода из алюминия или сталеалюминия, обеспечивая минимальные потери энергии и высокую безопасность.
Опоры производятся на основе типового проекта Арх. 4.0639
Опоры для поддержки проводов, предотвращающие провисание на прямых участках линии.
