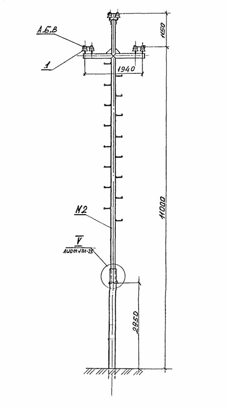
ППт10-1
Марка проводов - АС 50/8,0 - АС 70/11 - А95 - Ап120
Изоляторы - ШФ10Г - 6 шт
Ветровой район – II
Район по гололеду - II–III
Опора ЛЭП ППт10-1 изготавливается на основании чертежей типовой серии Арх. 4.0639 (Арх. № 4.0639-1).
В зависимости от требуемой прочности и температуры окружающей среды может быть изготовлена из различных марок стали: С245, С255, С345, кл.пр метизов: 5.6; 5.8; 8.8.
Антикоррозийное покрытие: горячее цинкование по ГОСТ 9.307-89
При заказе м/к для опоры, обязательно согласуем с Вами:
- марку стали и класс прочности метизов.
- антикоррозийное покрытие (без покрытия, грунт/эмаль, горячий цинк, цинол-алпол).
- разаработаем комплект чертежей марки КМД.
- условия поставки (самовывоз/доставка).
- условия оплаты (для постоянных клиентов предоставляем острочку платежа).
Срок изготовления:
стандартный срок разработки КМД - 5 дней.
стандартный срок производства м/к для опоры - 7 дней.
В зависимости от загрузки производства, срок изготовления может измениться.
Для уточнения позвоните нам по телефону: +7 (343) 305-30-13, либо напишите на почту: tes-energo@bk.ru
Отправляйте запрос прямо сейчас, изготовим металлоконструкции опоры Опора ППт10-1 на лучших условиях!
